


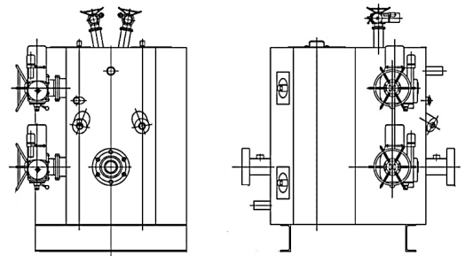
結構圖

技術參數表
| 型號 | 管徑(mm) | 過濾面積 | 額定流量 | 系統壓力 | 聯苯夾 | 許用壓差 | 許用溫度 | 過濾精度 | |
| Model | Diamater | (㎡) | (kg/h) | 套壓力 | |||||
| PET | PA、PP | ||||||||
| PE | |||||||||
| CPF-PT2-0.6Q | 30 | 0.6 | 75-150 | 50-110 | Max25Mpa | ≤0.6Mpa | Max8Mpa | ≤320℃ | 3-100um |
| CPF-PT2-1.05Q | 30 | 1.05 | 200-300 | 150-220 | |||||
| CPF-PT2-1.26Q | 30 | 1.26 | 250-350 | 180-250 | |||||
| CPF-PT2-1.8Q | 40 | 1.8 | 300-420 | 220-300 | |||||
| CPF-PT2-2.5Q | 40 | 2.5 | 480-600 | 330-420 | |||||
| CPF-PT2-3.5Q | 50 | 3.5 | 700-900 | 490-630 | |||||
| CPF-PT2-4.5Q | 50 | 4.5 | 800-1000 | 600-780 | |||||
| CPF-PT2-5.5Q | 50 | 5.5 | 900-1100 | 650-800 | |||||
| CPF-PT2-6.5Q | 65 | 6.5 | 1000-1200 | 700-850 | |||||
| CPF-PT2-7.5Q | 65 | 7.5 | 1200-1500 | 770-910 | |||||
| CPF-PT2-9.5Q | 65 | 9.5 | 1550-2000 | 850-1000 | |||||
適用范圍:
滌綸長絲, 錦綸長短絲,滌錦復合絲,丙綸、熔噴無紡布,丙綸長短絲,BOPET拉伸膜,氨綸,粘膠纖維植物纖維等領域,其結構新穎,能耗小,適用性強。
加熱方式:
導熱油循環加熱、聯苯循環加熱、導熱油電加熱及聯苯電加熱,均可選擇。
CopyRight ? 江蘇瀚晨機械科技有限公司 All Rights Reserved 備案號:蘇ICP備19073057號-1 [免責聲明]